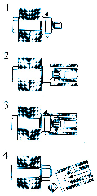
Pernos Estructurales de Torque Controlado

El sistema de hoy para montajes estructurales. Usando Pernos TC y la Llave Tone Cortaespiga, ud. tendrá la tensión correcta siempre en cada instalación de Pernos.
Ud. puede ahorrar mucho dinero ya que es un sistema de instalación rápida y muy bajo costo de inspección.
Combine los Pernos TC con nuestras Golillas DTI y obtendrá la tensión perfecta requerida para cada trabajo que realice.

Procedimiento de Instalación con nuestras Llaves Cortaespiga TONE 


|